Màn hình gập chắc chắn sẽ là một xu hướng của smartphone trong tương lai, và Apple cũng không thể đứng ngoài xu hướng này.
Một bằng sáng chế về màn hình gập của Apple mới đây đã được cập nhật, giúp người dùng hiểu rõ hơn ý định của Apple đối với iPhone màn hình gập.
Theo Cnet, bằng sáng chế này được đăng ký từ năm 2011 và đã được cập nhật lần đầu năm 2016, nhưng những hình ảnh cập nhật mới nhất cho thấy một loạt khả năng cho chiếc iPhone màn hình gập.
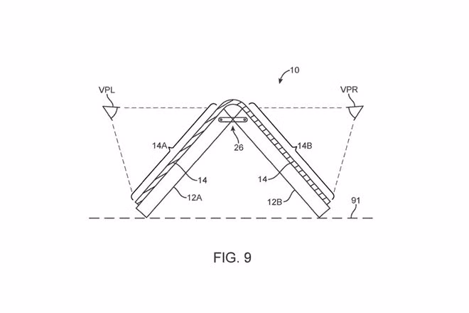
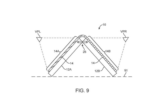
Một bức phác thảo cho thấy ý tưởng thiết kế iPhone màn hình gập làm 3. Ảnh: Apple .
Những bức ảnh mới cho thấy Apple đang tưởng tượng iPhone có kiểu dáng nắp gập, thậm chí là iPhone gập làm 3 hay cuộn tròn. Ngoài ra, kiểu dáng thiết kế với màn hình gập bên ngoài thiết bị cũng được tính đến. Những hình vẽ này cho thấy sự khác biệt với thiết kế mà nhiều hãng smartphone khác đang thực hiện.
Theo GSMArena, điểm thú vị của những hình vẽ này là Apple đưa ra rất nhiều phương án đặt bản lề để có thể hiện thực hóa màn hình gập. Những phương án này cho phép màn hình gập vào trong hoặc ra ngoài, và trong tương lai hoàn toàn có thể ứng dụng cho MacBook hoặc iPad.
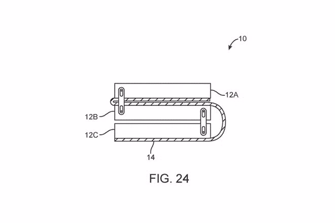
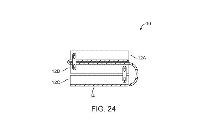
Nhiều ý tưởng trong bằng sáng chế của Apple có thể áp dụng cho những thiết bị khác như MacBook hay iPad. Ảnh: Apple.
Tại MWC 2019, nhiều hãng smartphone như Samsung, Huawei, Xiaomi có thể sẽ giới thiệu những mẫu điện thoại màn hình gập của mình. Đặc điểm chung của những mẫu điện thoại này là sử dụng màn hình OLED dẻo, có thể gập vào để thu nhỏ kích thước tương đương smartphone, hoặc mở ra để có màn hình lớn như máy tính bảng. Đến nay, 3 hãng nói trên đều đã xác nhận sẽ giới thiệu điện thoại màn hình gập trong sự kiện cuối tháng 2.
Mặc dù Samsung có thông tin sớm nhất về chiếc điện thoại màn hình gập, một startup có trụ sở tại California là Royole mới là hãng đầu tiên ra mắt sản phẩm. Chiếc Royole Flexpai được giới thiệu vào tháng 10/2018, có màn hình AMOLED 7,8 inch cong và được điều chỉnh giao diện thay đổi phù hợp với hình dáng màn hình.
Chiếc điện thoại Royole Flexpai hiện đã được bán ra. Ảnh: Cnet .
Chiếc Royole Flexpai được bán với giá khởi điểm 1.318 USD. Nhiều khả năng các smartphone màn hình gập khác ra mắt trong năm nay cũng thuộc phân khúc cao cấp, với mức giá cao ngất ngưởng.
Trang trí iPhone giúp máy đẹp hơn và thể hiện cá tính. Với mẹo đổi hình nền, sắp xếp ứng dụng và dùng theme miễn phí, bạn dễ dàng tạo giao diện gọn gàng, độc đáo.
Cách kết nối máy tính với tivi không dây giúp việc phản chiếu màn hình, truyền video, hình ảnh, tài liệu,… từ máy tính sang tivi trở nên cực kỳ đơn giản và tiện lợi.
Trong quá trình sử dụng, những vấn đề chúng ta thường gặp ở “dế yêu” của mình là điện thoại bị nóng và nhanh hết pin. Tình trạng này xảy ra khiến nguời dùng không khỏi lo lắng.
Một dự báo mới cho thấy chiếc iPhone màn hình gập đầu tiên của Apple sẽ có mức giá rất cao, cùng phân khúc với dòng laptop đắt nhất của hãng là MacBook Pro 16 inch.
Tài khoản Zalo bị vô hiệu hoá là vấn đề khiến nhiều người dùng lo lắng vì ảnh hưởng trực tiếp đến liên lạc, công việc và bảo mật cá nhân. Việc hiểu rõ nguyên nhân, dấu hiệu nhận biết và hướng xử lý kịp thời sẽ giúp bạn giảm thiểu rủi ro và phục hồi quyền truy cập nhanh chóng.
Những thay đổi chưa từng có trong lộ trình ra mắt sản phẩm của Apple được dự báo sẽ đặt người dùng vào thế khó khi cân nhắc nâng cấp lên thế hệ iPhone 18.
AI đang được nhiều người trẻ sử dụng để tìm kiếm thông tin, để giãi bày và được động viên tinh thần. Tuy nhiên điều này có thể dẫn tới việc người dùng sẽ bị "lệ thuộc cảm xúc" vào máy móc.
Lấy lại nhật ký cuộc gọi đã xóa trên iPhone giúp khôi phục nhanh số điện thoại, thời gian và lịch sử liên lạc quan trọng. Xem ngay cách thực hiện đơn giản sau đây
Quy tụ gần 750 doanh nghiệp trong và ngoài nước, Tuần lễ Công nghiệp và Công nghệ Việt Nam 2025 trở thành sàn diễn hội tụ của thế hệ máy móc và công nghệ sản xuất hiện đại.
Nhờ có Apple Intelligence, các thao tác trên iPhone trở nên thông minh và tiện lợi hơn rất nhiều, kể cả việc dịch văn bản. Bạn không cần cài thêm ứng dụng hỗ trợ, chỉ với vài thao tác là iPhone có thể hiểu và dịch nội dung nhanh chóng, tự nhiên và chính xác.
Rạng sáng 13/11 (giờ Việt Nam), hàng loạt dịch vụ như công cụ tìm kiếm Google Search, dịch vụ lưu trữ Google Drive hay bộ ứng dụng văn phòng Google Docs và Google Sheets, đã gặp tình trạng gián đoạn.
Thói quen sạc pin điện thoại tưởng chừng đơn giản, nhưng nhiều người thường bỏ qua một hiện tượng quan trọng là quá nhiệt bộ sạc. Đây không chỉ là phản ứng vật lý bình thường mà đôi khi còn là lời cảnh báo về chất lượng phụ kiện, hoặc thói quen sử dụng đang âm thầm gây hại cho pin và thiết bị của bạn.
Nhờ Apple Intelligence, iPhone nay thông minh hơn với khả năng dịch văn bản cực nhanh và chính xác. Không cần cài thêm ứng dụng, bạn có thể dịch mọi nội dung chỉ với vài thao tác đơn giản.
Không phải ai cũng biết iPhone đã tích hợp sẵn tính năng chụp ảnh kèm định vị. Nhờ công cụ này, mỗi bức hình không chỉ lưu lại khoảnh khắc, mà còn đi kèm tọa độ và thời gian chụp.
Camera không hoạt động trên Google Chrome máy tính có thể gây phiền toái, đặc biệt khi bạn cần tham gia các cuộc họp trực tuyến, học online, hoặc thực hiện video call.
Nút Wifi không bật được trên iPhone khiến bạn không thể kết nối mạng và sử dụng các ứng dụng yêu thích. Tình trạng này không chỉ gây gián đoạn trải nghiệm mà còn khiến nhiều người lo lắng không biết thiết bị của mình đang gặp vấn đề gì.
Để kỷ niệm 50 năm thành lập, Apple dự kiến trình làng nhiều thiết bị quan trọng như iPhone 18 hay MacBook Pro M6, dù vẫn còn thách thức xoay quanh thị trường và đối thủ cạnh tranh.
Zalo thường mặc định tự lưu ảnh và video để bảo đảm rằng dữ liệu người dùng không bị mất. Tuy nhiên, điều này cũng khiến cho bộ nhớ máy trở nên quá tải. Bạn có thể cải thiện vấn đề này thông qua hướng dẫn sau.