
Ô tô có thể là sở thích với những người đam mê tốc độ nhưng với phần lớn người sử dụng, đây chỉ là phương tiện di chuyển. Vì vậy, trải nghiệm sử dụng là một trong những điều quan trọng dẫn tới việc thành công của dòng xe nói chung hay mẫu xe nói riêng.

Thiết kế cửa trượt phía sau xe Hyundai đang được phát triển
Đó là lý do tại sao các hệ thống thông tin giải trí phức tạp nhưng lại nằm trong số những trải nghiệm chất lượng ban đầu kém đối với những người mua xe mới và tại sao những cỗ máy như Polestar 2 giúp cuộc sống trở nên dễ dàng hơn bằng cách loại bỏ sự phức tạp bổ sung. Hyundai hiện đã đưa ra những gì họ tin rằng là bước tiếp theo trong việc làm cho ô tô - đặc biệt là những chiếc crossover trở nên thân thiện hơn.

Cốp sau xe sẽ sớm trở thành lịch sử với những phát minh mới giúp tiện kiệm diện tích
Những chiếc crossover truyền thống có cửa sau được thiết kế bản lề phía trên tạo ra một khẩu độ rộng nhưng thường có thể là nguyên nhân gây ra cảm giác khó chịu khi lùi vào một chỗ đậu xe quá gần một bức tường hoặc một chiếc xe khác. Hyundai đã khắc phục điều này bằng một thiết kế mới cho cửa sau dạng trượt.
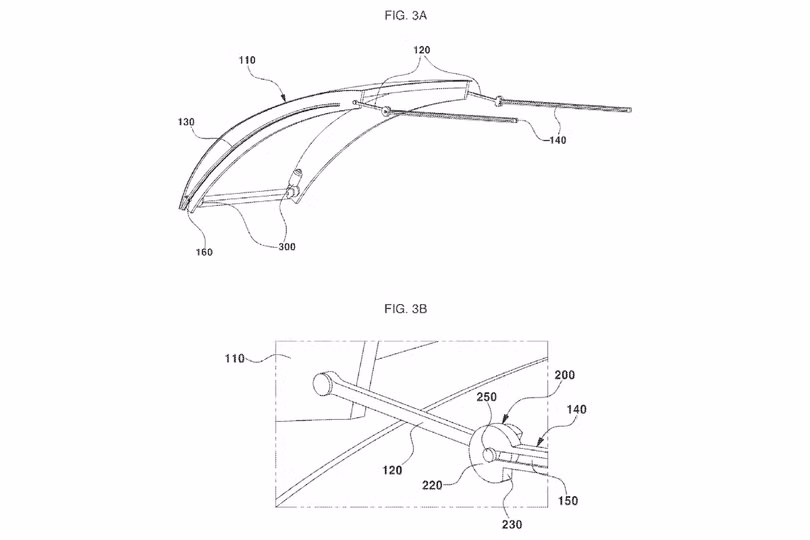
Được CarBuzz phát hiện, các tài liệu bằng sáng chế đã được nộp cho Văn phòng Sáng chế và Nhãn hiệu Hoa Kỳ (USPTO) và được phê duyệt vào tuần trước giới thiệu công nghệ mới này có thể sẽ sớm ra mắt trên những chiếc xe như Hyundai Ioniq 5, Tucson, Santa Fe và Palisade. Thay vì bản lề và xoay lên trên, về cơ bản, cửa hậu sẽ bắt chước cửa trượt của một chiếc xe tải nhỏ và trượt trên đỉnh của chiếc crossover hoặc SUV.

Hyundai IONIQ 5
Rãnh ở hai bên mái, các bộ phận nghiêng được tích hợp trong cơ chế cửa sập và thanh chống nâng khí sẽ kết hợp để xoay tấm sau lên nóc và trượt về phía trước để mở toàn bộ khoang sau.
Hyundai tin rằng điều này sẽ ngăn chặn viễn cảnh bực bội khi mở cửa sau chỉ để nhận ra bạn đang đậu quá gần một bức tường và sau đó cần phải lùi xe lại để vào khoang chở hàng.
Trong tài liệu cấp bằng sáng chế, Hyundai đề xuất nhiều kỹ thuật khác nhau để đạt được mục tiêu cuối cùng. Những loại này bao gồm từ ray trượt điển hình như người ta thường thấy trên một chiếc xe tải nhỏ đến bản lề và đòn bẩy có thể gấp theo cách cụ thể để đạt được hiệu quả mở như mong muốn. Các thanh dẫn hướng và giá đỡ có thể được bố trí dọc theo mép ngoài của mái nhà hoặc ở trung tâm tùy thuộc vào thiết kế và yêu cầu của xe.
Hyundai hình dung điều này sẽ được sử dụng đặc biệt trong những chiếc RV và SUV, nơi tính thực dụng thay thế các tiêu chí khác về tầm quan trọng của nó. Tất nhiên, có những hạn chế nhất định, một trong những hạn chế chính là chiều cao. Với việc mở cửa sau trên đỉnh mái, các bãi đỗ xe hoặc nhà để xe có mái che thấp có thể dẫn đến việc không thể mở cửa sau theo cách như vậy, trong khi các cửa hậu có bản lề truyền thống thường có thể dừng lại ở độ cao thấp hơn. Tuy nhiên, với những chiếc crossover chạy điện nói chung sử dụng cấu hình thấp hơn, chúng tôi không lường trước được những chiếc SUV trong tương lai sẽ cao bằng các đối thủ hiện tại.